規格
1、額定電流
根據**標準GB/T11919-2001中的相關要求,我們國內采用I系列(16、32、63和125A);
2、額定電壓
按照工業防水插座不同電壓外殼顏色不同可分為:
20-25V為紫色、40-50V為白色、100-130V為黃色、200-250V為藍色、380-480V為紅色、500-690V為黑色;
3、額定頻率
我們國內的工業防水插座頻率一般為50HZ,而在國外有50、60、100-300和300-500幾類;
4、接地出頭位置
當工業防水插座的額定電壓大于50V時,地極位置一般在1點至12點之間,而比較常見的地極位置在6點鐘方向;
5、極數
當額定電壓≤50V時,極數有2極和3極兩種;當額定電壓>50V時,極數有3極、4極和5極三種(具體極數可參考下圖);

6、外觀
為了滿足更多的環境、場合下安裝使用需要,插座的外形有小法蘭、直型、方型和斜型幾種(具體插座外形可參考下圖所示);


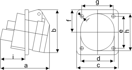
ZYY-413 ZYY-423
16A:a-73 b-70 c-62 d-50 e-49 f-33 g-47 h-56 i-36 j-5
32A:a-87 b-91 c-80 d-64 e-71 f-42 g-61 h-76 i-44 j-6
ZYY-413 ZYY-423
16A:a-80 b-78 c-76 d-56 e-62 f-42 g-60 h-64 i-44 j-5
32A:a-87 b-91 c-80 d-64 e-71 f-42 g-61 h-76 i-44 j-5
ZYY-413 ZYY-423
16A:a-79 b-86 c-75 d-62 e-62 f-37 g-60 h-70 i-42 j-5
32A:a-87 b-94 c-82 d-72 e-71 f-43 g-61 h-82 i-44 j-5









